
Patente
Joen Lih inova consistentemente em tecnologia de patentes, uma chave para o nosso sucesso. Entendemos que depender apenas da tecnologia existente não é competitivo. Portanto, investimos em P&D, impulsionando a inovação para melhorar o desempenho, a funcionalidade e a qualidade dos produtos. Através da inovação contínua em patentes, ganhamos uma vantagem competitiva e promovemos a prosperidade da indústria.
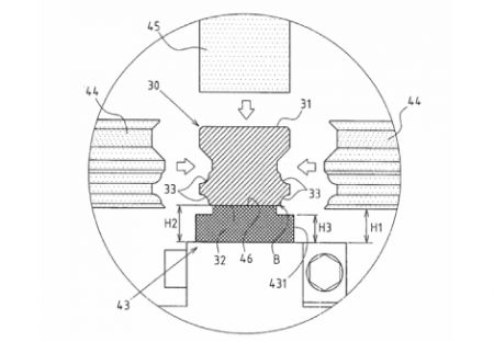
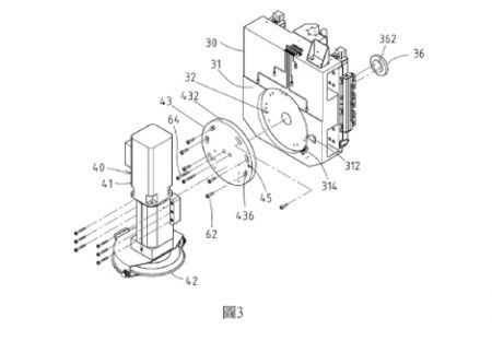
Máquina de moagem com adaptação modular da unidade de moagem
A data de início do direito de patente: 19/11/2021
Esta criação fornece uma máquina de moagem com adaptabilidade modular para unidades de moagem. A unidade de moagem é posicionada na base de configuração, que oferece suporte eficaz e confiável, aumentando a estabilidade da instalação da unidade de moagem.
Máquina de processamento de duplo cantilever
A data de início do direito de patente: 2018/06/19
Esta criação refere-se a uma máquina de processamento, especificamente a uma estrutura inovadora de uma máquina de processamento de braço duplo. O desafio técnico abordado é o desenvolvimento de uma estrutura mais praticamente ideal para uma nova máquina de processamento de braço duplo, visando alcançar inovações inovadoras.
Máquina de processamento com bancadas de trabalho de movimento duplo na mesma trilha
A data de início do direito de patente: 2018/06/19
Esta criação diz respeito a uma máquina de processamento, referindo-se especificamente a uma estrutura inovadora de uma máquina com mesas de trabalho duplas síncronas na mesma trilha. O desafio técnico abordado é o desenvolvimento de uma estrutura mais praticamente ideal para uma nova máquina com mesas de trabalho duplas síncronas na mesma trilha, visando alcançar inovações revolucionárias.
Máquina de processamento de moagem com eixo de ângulo de inclinação dupla
A data de início do direito de patente: 28/02/2018
Esta criação diz respeito a uma máquina de retificação de trilhos, referindo-se especificamente a uma estrutura inovadora com um eixo principal de ângulo duplo. O desafio técnico abordado é o desenvolvimento de uma estrutura mais prática e nova para uma máquina de retificação de trilhos, visando alcançar inovações revolucionárias.
Estrutura de configuração do eixo principal da máquina de moer de três superfícies
A data de início do direito de patente: 31/12/2014
Esta criação envolve uma estrutura específica de uma máquina de moagem de três superfícies, referindo-se particularmente a uma estrutura inovadora de configuração de eixo para uma máquina de moagem de três superfícies. A estrutura divulgada visa reduzir o custo de configuração, o custo de transporte e economizar espaço de instalação para a máquina de moagem de três superfícies.
Processamento da estrutura de arranjo do fuso do rebolo de três superfícies com trilho linear
A data de início do direito de patente: 26/11/2014
Esta criação envolve a estrutura de configuração do eixo de processamento de uma máquina de moer de três superfícies com guia linear. Visando os problemas presentes na estrutura do eixo de processamento, uma estrutura inovadora mais ideal e prática é desenvolvida.
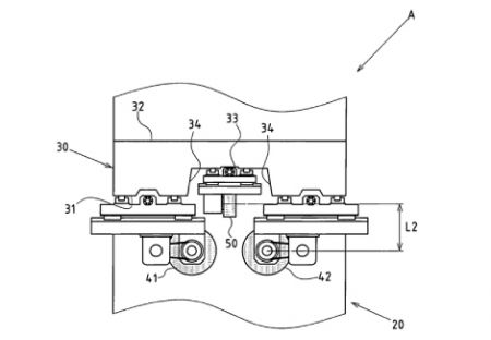
Aparato de corte de disco de areia dupla da máquina de moagem
A data de início do direito de patente: 2014/4/16
Esta criação envolve uma estrutura específica de uma máquina de moagem, referindo-se especificamente a um design inovador de um dispositivo de vestimenta de roda de moagem dupla para a máquina de moagem. Abordando os problemas presentes na estrutura do dispositivo de vestimenta da roda de moagem da máquina de moagem, uma estrutura inovadora mais ideal e prática é desenvolvida.
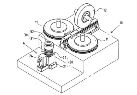
Máquina de moagem de três faces
A data de início do direito de patente: 2014/4/2
Esta criação envolve uma máquina de moagem de guia linear, referindo-se especificamente a uma estrutura inovadora de uma máquina de moagem de três superfícies que pode completar a moagem de precisão da superfície de contato da montagem, da segunda superfície de guia do rolo e de outras três superfícies em um único processo de moagem com posicionamento por adsorção. Esta estrutura simplifica o processo de moagem de guia linear, reduz erros de processamento e melhora a qualidade do processamento.
Patente | Líder Global em Moagem de Precisão CNC | Joen Lih Máquinas
Joen Lih Machinery Co., Ltd., fundada em 1988, é um fabricante global líder de máquinas de moagem de precisão, incluindo moedores planos de alta precisão, moedores de perfis e equipamentos avançados de polimento de semicondutores. Com mais de 20 anos de experiência na indústria, oferecemos soluções personalizadas para setores como médico, aeroespacial, semicondutores e automotivo, garantindo estabilidade e precisão incomparáveis.
Dedicada à inovação, Joen Lih integra automação e tecnologias de ponta para oferecer máquinas de moagem superiores. Estamos comprometidos em expandir nosso alcance global, aprimorar a eficiência da produção e a satisfação do cliente em mercados-chave na Ásia, Europa e Américas.
JOENLIH tem sido um fornecedor líder de máquinas de moagem de precisão por mais de 20 anos, aproveitando consistentemente a tecnologia de ponta para oferecer soluções personalizadas que atendem e superam os requisitos específicos de cada cliente.
Fatos da Empresa em Números
0
Novo Inventor de Semicondutores Nº.
0%
Satisfação do Cliente
0
Vendas de Máquinas Cumulativas

