
Brevets
Joen Lih innove constamment dans la technologie des brevets, un élément clé de notre succès. Nous comprenons que s'appuyer uniquement sur la technologie existante n'est pas compétitif. C'est pourquoi nous investissons dans la R&D, stimulant l'innovation pour améliorer la performance, la fonctionnalité et la qualité des produits. Grâce à une innovation continue des brevets, nous obtenons un avantage concurrentiel et favorisons la prospérité de l'industrie.
Machine de meulage avec adaptation modulaire de l'unité de meulage
La date de début du droit de brevet : 2021/11/19
Cette création propose une machine de meulage dotée d'une adaptabilité modulaire pour les unités de meulage. L'unité de meulage est positionnée sur la base de réglage, qui offre un support efficace et fiable, améliorant la stabilité de l'installation de l'unité de meulage.
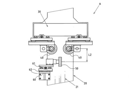
Machine de traitement à double porte-à-faux
La date de début du droit de brevet : 2018/06/19
Cette création concerne une machine de traitement, se référant spécifiquement à une structure innovante d'une machine de traitement à double bras. Le défi technique abordé est le développement d'une structure plus pratiquement idéale pour une nouvelle machine de traitement à double bras, visant à réaliser des percées innovantes.
Machine de traitement avec des bancs de travail à double mouvement sur le même rail
La date de début du droit de brevet : 2018/06/19
Cette création concerne une machine de traitement, se référant spécifiquement à une structure innovante d'une machine avec des tables de travail doubles synchrones sur la même piste. Le défi technique abordé est le développement d'une structure pratiquement idéale pour une nouvelle machine avec des tables de travail doubles synchrones sur la même piste, visant à réaliser des percées innovantes.
Machine de traitement de meulage de suivi avec broche à double angle d'inclinaison
La date de début du droit de brevet : 2018/02/28
Cette création concerne une machine de meulage de rails, se référant spécifiquement à une structure innovante avec un axe principal à double angle. Le défi technique abordé est le développement d'une structure plus pratique et novatrice pour une machine de meulage de rails, visant à réaliser des percées innovantes.
Structure de configuration de l'arbre principal de la machine à meuler à trois surfaces
La date de début du droit de brevet : 2014/12/31
Cette création implique une structure spécifique d'une machine de meulage à trois surfaces, se référant particulièrement à une structure de configuration de broche innovante pour une machine de meulage à trois surfaces. La structure divulguée vise à réduire le coût de configuration, le coût de transport et à économiser de l'espace d'installation pour la machine de meulage à trois surfaces.

Structure d'arrangement de broche de traitement de la machine à meuler à trois faces sur rail linéaire
Structure d'arrangement de broche de traitement de la machine à meuler à trois faces sur rail linéaire
La date de début du droit de brevet : 2014/11/26
Cette création concerne la structure de configuration de l'axe de traitement d'une machine à meuler à trois surfaces avec guide linéaire. En ciblant les problèmes présents dans la structure de l'axe de traitement, une structure innovante plus idéalement pratique est développée.
Appareil de découpe à disque de sable double de machine à meuler
La date de début du droit de brevet : 2014/4/16
Cette création implique une structure spécifique d'une machine à meuler, se référant spécifiquement à un design innovant d'un dispositif de dressage de meules à double meule pour la machine à meuler. En abordant les problèmes présents dans la structure du dispositif de dressage de meules de la machine à meuler, une structure innovante plus pratiquement idéale est développée.
Machine de meulage à trois faces
La date de début du droit de brevet : 2014/4/2
Cette création implique une machine de meulage à guide linéaire, se référant spécifiquement à une structure innovante d'une machine de meulage à trois surfaces qui peut réaliser le meulage de précision de la surface de contact de l'assemblage, de la deuxième surface de guide à rouleau et d'autres trois surfaces dans un seul processus de meulage par adsorption et positionnement. Cette structure simplifie le processus de meulage à guide linéaire, réduit les erreurs de traitement et améliore la qualité du traitement.
Brevets | Leader mondial en meulage de précision CNC | Joen Lih Machines
Joen Lih Machinery Co., Ltd., fondée en 1988, est un fabricant mondial de premier plan de machines de meulage de précision, y compris des meuleuses planes de haute précision, des meuleuses de profil et des équipements de polissage de semi-conducteurs avancés. Avec plus de 20 ans d'expertise dans l'industrie, nous offrons des solutions personnalisées pour des secteurs tels que le médical, l'aérospatial, les semi-conducteurs et l'automobile, garantissant une stabilité et une précision inégalées.
Dédié à l'innovation, Joen Lih intègre l'automatisation et des technologies de pointe pour offrir des machines de broyage supérieures. Nous nous engageons à étendre notre portée mondiale, à améliorer l'efficacité de la production et la satisfaction des clients sur les marchés clés en Asie, en Europe et en Amérique.
JOENLIH est un fournisseur de machines de meulage de précision de premier plan depuis plus de 20 ans, tirant constamment parti des technologies de pointe pour offrir des solutions personnalisées qui répondent et dépassent les exigences spécifiques de chaque client.
Faits sur l'entreprise en chiffres
0
Nouveau numéro d'inventeur de semi-conducteurs.
0%
Satisfaction client
0
Ventes cumulées de machines